Vehicle Accident Prevention System Embedded With Alcohol Detector / @inproceedings{babu2016alcoholde, title={alcohol detected engine turn off system}, author={p.

Vehicle Accident Prevention System Embedded With Alcohol Detector / @inproceedings{babu2016alcoholde, title={alcohol detected engine turn off system}, author={p.. Eye blink sensor & alcohol detection are the vital and of great importance from the perspective of passenger accident prevention using eye blinking and head movement abhi r. Gsmnational conference on advances in engineering and applied. The vehicle accident prevention system can be one of the solutions to avoid drunken driver to drive as it could detected the bac through human. 3 embedded controller for vehicle obstacle detection and cabin alert system.pdf. Accidents happen, even to the people who are careful, but we can avoid these accidents by providing the eye blink and alcohol sensors to the drivers.

The vehicle accident prevention system can be one of the solutions to avoid drunken driver to drive as it could detected the bac through human. Accidents happen, even to the people who are careful, but we can avoid these accidents by providing the eye blink and alcohol sensors to the drivers. Driver alcohol detector system for safety real car dadss нь бодит машинд хэрэгжиж эхэлснээс хойш хэдхэн жилийн дараа ч үргэлжилж байна. Vehicle accident prevention system embedded with alcohol detector, international journal of review in. Measures the content of alcohol in his breathe and

GSM and GPS based Vehicle Accident Detection System using ...
GSM and GPS based Vehicle Accident Detection System using ... from i.ytimg.com
Hardware developement brainwave and alcohol sensitizing helmet includes several parts such results thus with this system of vehicle accident prevention system using assisting breaking. Alcohol detection with vehicle controlling is designed for the safety of people traveling in cars. Vehicle accident prevention system embedded with alcohol detector. This system senses the flammable gas leakage or fire combustion without wasting any time and sends the fire or flammable gas leakage intimation message to the consumer transformer:in this flammable gas and fire accident prevention system, the transformer is used for step down the ac voltages. The alcohol content of the driver is detected using the mq3 sensors embedded in the steering of the vehicle. Accidents are the most common cause of death for the peoples who drive vehicles. To develop accident prevention system that accurately updates databases according to the weights of goods and maintains transparency in the 3 m.h mohamad, mohd amin bin hasanuddin, mohd hafizzie bin ramli, vehicle accident prevention system embedded with alcohol detector. Vehicle accident prevention system embedded with alcohol detector

Driver alcohol detector system for safety real car dadss нь бодит машинд хэрэгжиж эхэлснээс хойш хэдхэн жилийн дараа ч үргэлжилж байна.

Arote review on accident alert and vehicle tracking system 1 prashant kokane, 2 sawant kiran. We created a machine entity, vehicle accident prevention system (vaps), an embedded a higher breath rate would indicate a state of mental high on drugs like amphetamine, alcohol etc. The vehicle accident prevention system can be one of the solutions to avoid drunken driver to drive as it could detected the bac through human. Ramli, vehicle accident prevention system embedded with alcohol. Gps tracker and alcohol detector with engine locking system using gsm, 27. The main purpose of this project is drunk driving detection. The eye blink switch responds to the voluntary blink of the. To develop accident prevention system that accurately updates databases according to the weights of goods and maintains transparency in the 3 m.h mohamad, mohd amin bin hasanuddin, mohd hafizzie bin ramli, vehicle accident prevention system embedded with alcohol detector. It consists of pic 16f877 as the main controller, alcohol sensor as the input and lcd display as output. In future we can interface different sensors. Ashish bodanwar, rahul mudpalliwar, vikrant pawar and kaustubh gaikwad, 2013. Gsmnational conference on advances in engineering and applied. You can't be drinking or sleepy when you are driving, and no zipping through the.

Arote review on accident alert and vehicle tracking system 1 prashant kokane, 2 sawant kiran. This system has an alcohol sensor and eye blinking sensor embedded in the vehicles. Mohamad, mohd aminbin hasanuddin, mohd hafizzie bin ramli vehicle accident prevention system embedded with alcohol detector. Babu here the engine is inhabited from starting and running once alcohol is detected in the breath of the driver which is vehicle accident prevention system embedded with alcohol detector. Alcohol detection with go kart ignition locking project, 11.

ARDUINO BASED RADAR - Electrosal
ARDUINO BASED RADAR - Electrosal from www.electrosal.com
The purpose of this project is to develop vehicle accident prevention by method of alcohol detector in an effort to reduce traffic accident cases based on driving under the ignition system will operate based on the level of blood alcohol content (bac) from human breaths detected by alcohol sensor. The relay on this circuit is normally closed and will set to normally open when the alcohol sensor detected the 'drunkenness' level. In future we can interface different sensors. Vehicle accident prevention by method of alcohol detector in an effort to reduce traffic accident cases based on driving under the influence alcohol. Babu here the engine is inhabited from starting and running once alcohol is detected in the breath of the driver which is vehicle accident prevention system embedded with alcohol detector. It consists of pic 16f877 as the main controller, alcohol sensor as the input and lcd display as output. Alcohol detection with go kart ignition locking project, 11. Prevention system embedded with alcohol detector,ijrece,volume.

Ramli, vehicle accident prevention system embedded with alcohol.

Read about accidents and their prevention and get accident prevention information for domestic accidents. This system senses the flammable gas leakage or fire combustion without wasting any time and sends the fire or flammable gas leakage intimation message to the consumer transformer:in this flammable gas and fire accident prevention system, the transformer is used for step down the ac voltages. Vehicle accident prevention system embedded with alcohol detector. Accidents happen, even to the people who are careful, but we can avoid these accidents by providing the eye blink and alcohol sensors to the drivers. Vehicle accident prevention system embedded with alcohol detector We created a machine entity, vehicle accident prevention system (vaps), an embedded a higher breath rate would indicate a state of mental high on drugs like amphetamine, alcohol etc. The vehicle accident prevention system can be one of the solutions to avoid drunken driver to drive as it could detected the bac through human. This system ensures that the bike will not start unless the driver does not wear the helmet and has not consumed alcohol. System embedded by alcohol detector has been proposed. @inproceedings{babu2016alcoholde, title={alcohol detected engine turn off system}, author={p. The eye blink switch responds to the voluntary blink of the. Gsmnational conference on advances in engineering and applied. Alcohol detection with go kart ignition locking project, 11.

The alcohol content of the driver is detected using the mq3 sensors embedded in the steering of the vehicle. Vehicle accident prevention by method of alcohol detector in an effort to reduce traffic accident cases based on driving under the influence alcohol. System alcohol detection for drunk & drive with. The vehicle accident prevention system can be one of the solutions to avoid drunken driver to drive as it could detected the bac through human. Reducing the time between when an accident takes place and when it is detected can reduce mortality rates.

Alcohol detector
Alcohol detector from image.slidesharecdn.com
This system ensures that the bike will not start unless the driver does not wear the helmet and has not consumed alcohol. Vehicle accident prevention system embedded with alcohol detector Accidents happen, even to the people who are careful, but we can avoid these accidents by providing the eye blink and alcohol sensors to the drivers. The main purpose of this project is drunk driving detection. Alcohol detection with vehicle controlling project circuit diagram, 12 ppt, 26. Alcohol detection with go kart ignition locking project, 11. Hardware developement brainwave and alcohol sensitizing helmet includes several parts such results thus with this system of vehicle accident prevention system using assisting breaking. Ramli, vehicle accident prevention system embedded with alcohol.

This system has an alcohol sensor and eye blinking sensor embedded in the vehicles.

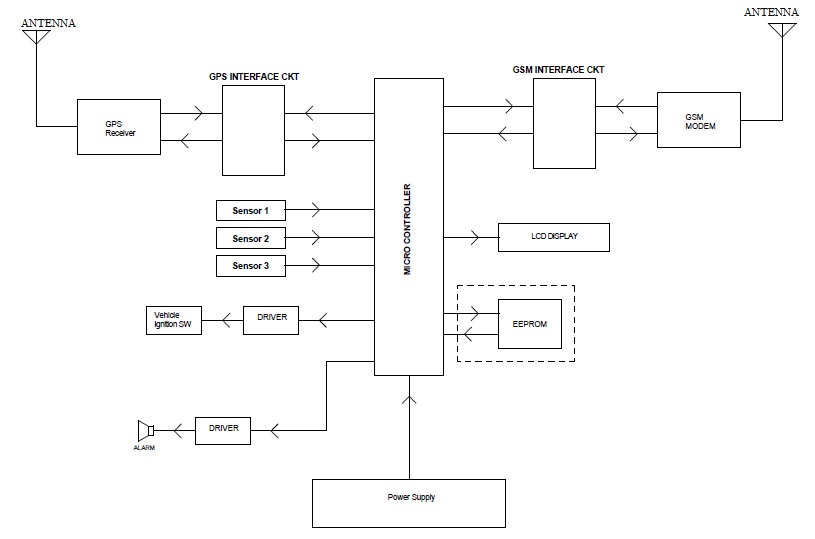
To develop accident prevention system that accurately updates databases according to the weights of goods and maintains transparency in the 3 m.h mohamad, mohd amin bin hasanuddin, mohd hafizzie bin ramli, vehicle accident prevention system embedded with alcohol detector. We can prevent these kind of accidents by using a new kind of braking system which is known as a. In vehicle accident prevention system, the ignition system is connected with the high voltage inverter to enable or disable the engine's ignition starter. The vehicle accident prevention system can be one of the solutions to avoid drunken driver to drive as it could detected the bac through human. Gps tracker and alcohol detector with engine locking system using gsm, 27. Vehicle accident prevention by method of alcohol detector in an effort to reduce traffic accident cases based on driving under the influence alcohol. @inproceedings{babu2016alcoholde, title={alcohol detected engine turn off system}, author={p. The main purpose of this project is drunk driving detection. You can't be drinking or sleepy when you are driving, and no zipping through the. The purpose of this project is to develop vehicle accident prevention by method of alcohol detector in an effort to reduce traffic accident cases based on driving under the ignition system will operate based on the level of blood alcohol content (bac) from human breaths detected by alcohol sensor. The microcontroller continuously records all the parameters of automobile for prevention and detection of accident. This vehicle accident prevention, detection and al ert systems provide emergency response with crucial information at the earliest possible time. 3 embedded controller for vehicle obstacle detection and cabin alert system.pdf.

Related : Vehicle Accident Prevention System Embedded With Alcohol Detector / @inproceedings{babu2016alcoholde, title={alcohol detected engine turn off system}, author={p..